立即注册找回密码

QQ登录

只需一步,快速开始

微信登录

微信扫一扫,快速登录

搜索
小桔灯网 门户 资讯中心 企业动态 查看内容

深圳迈瑞起诉上海迈瑞,仿冒纠纷升级!

2024-5-9 16:14| 编辑: 鹏哥| 查看: 1285| 评论: 0|来源: 医业观察、天眼查、网络等

摘要: 值得注意的是,以前深圳迈瑞和其他“迈瑞”二字相关企业名称打的官司大多是侵害商标权纠纷类型

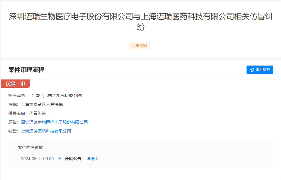
据天眼最新消息,深圳迈瑞生物医疗电子股份有限公司与上海迈瑞医药科技有限公司相关仿冒纠纷将于6月11日在上海市奉贤区人民法院开庭。


值得注意的是,以前深圳迈瑞和其他“迈瑞”二字相关企业名称打的官司大多是侵害商标权纠纷类型,这次是仿冒纠纷类型。



商标侵权与假冒区别是什么?


假冒商标行为是商标侵权行为的一种。两者相同之处在于,都属于侵犯他人注册商标专用权的行为。两者的区别是:假冒商标行为在主观上必定故意的假冒他人注册商标和销售假冒商品,制造、销售他人的注册商标标识。


假冒商标行为必须是在同一种商品上使用与他人注册商标相同的商标,而不是在类似商品上使用与他人注册商标相同的商标。也不是在同一种商品上使用与他人注册商标相近似的商标。而一般的商标侵权行为在主观上可以是故意的也可以是无意的。


小编猜测,此次纠纷大概率是因为上海迈瑞医药公司名称中的“迈瑞”二字,但上海迈瑞医药产品线是医药板块,和深圳迈瑞生物的产品线不同,不是在类似商品上使用该商标,所以涉及到的纠纷是仿冒。



多次商标纠纷


类似的商标纠纷,迈瑞每年都会有!不可否认的是“迈瑞”作为医疗器械一哥深圳迈瑞的核心标志,在国内和国际医疗设备这一相关领域,对研发、生产、销售、使用医疗设备的相关单位、人群造成了统一的不可分割的效益效果,产生了与深圳迈瑞产品不可分割的影响力,已成为中国驰名商标。近几年迈瑞涉及的多次商标纠纷里面大多是有涉及到”迈瑞“字样的其他医疗公司,深圳迈瑞方可能会认为这样会使消费者产生混淆,对方有明显的“搭便车”嫌疑,有意为之。


(医业观察小K不完全统计自天眼查)


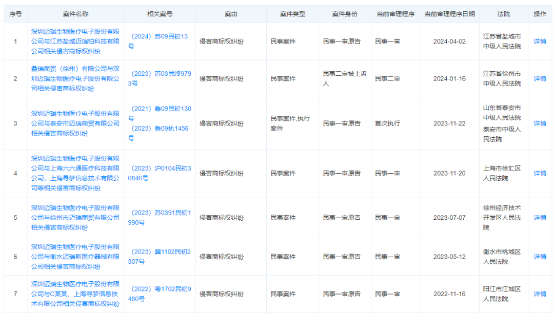
相关的商标纠纷官司数不胜数:深圳迈瑞把大连迈瑞科告了!,深圳迈瑞状告成都迈瑞、徐州迈瑞!等等


案由为侵害商标权纠纷的统计数据在深圳迈瑞的司法案件里面排第四,从2021年至今已产生21起侵害商标权纠纷。


(图片来自天眼查)


体外诊断观察特成立IVD企业高管交流群,交流IVD行业热点,赶快扫码进群吧!若二维码失效,请扫描文末二维码,添加小编个人微信,小编将邀请您进群。



来源:医业观察、天眼查、网络等

编辑:小墨  审校:小实


声明:注明来源的文章均为转载,仅用于分享,不代表平台立场,如涉及版权等问题,请尽快联系我们,我们第一时间更正,谢谢!


声明:
1、凡本网注明“来源:小桔灯网”的所有作品,均为本网合法拥有版权或有权使用的作品,转载需联系授权。
2、凡本网注明“来源:XXX(非小桔灯网)”的作品,均转载自其它媒体,转载目的在于传递更多信息,并不代表本网赞同其观点和对其真实性负责。其版权归原作者所有,如有侵权请联系删除。
3、所有再转载者需自行获得原作者授权并注明来源。

最新评论

关闭

官方推荐 上一条 /3 下一条

客服中心 搜索 洽谈合作
返回顶部