立即注册找回密码

QQ登录

只需一步,快速开始

微信登录

微信扫一扫,快速登录

搜索
小桔灯网 门户 资讯中心 医界动态 查看内容

康圣环球,出手大收购!

2024-9-23 14:53| 编辑: 鹏哥| 查看: 2446| 评论: 0|来源: 康圣环球、爱企查 整理:IVD体外诊断网

摘要: 截至本公告发布之时,公司尚未就拟议收购事项签署任何具有法律约束力的交易文件。
9月20日最新消息,康圣环球(09960)发布公告,公司正在洽谈收购广州康丞唯业生物科技有限公司及AnchorDx Inc.各自的100%股权。

截至本公告发布之时,公司尚未就拟议收购事项签署任何具有法律约束力的交易文件。根据现有有关拟议收购事项的最新信息,预计拟议收购事项在香港联合交易所有限公司证券上市规则第14章项下将构成公司的一项须予披露交易。

具体公告如下:

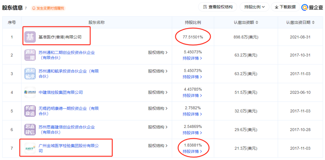
康圣环球收购的广州康丞唯业生物科技有限公司,爱企查中显示,基准医疗持股高达77.5%,系基准医疗子公司;广州金域医学也投资过该公司。该司法定代表人为范建兵,范建兵是广州市基准医疗有限责任公司、广州基准医疗医学检验所有限公司、广州康丞唯业生物科技有限公司等公司法定代表人,担任广州康丞唯业生物科技有限公司等公司高管。
图片
广州康丞唯业生物科技有限公司经营范围包括生物医疗技术研究;生物技术推广服务;生物技术开发服务;生物技术咨询、交流服务;生物技术转让服务;办公设备租赁服务;医疗设备租赁服务;佣金代理;企业管理咨询服务;电子产品批发;仪器仪表批发;货物进出口(专营专控商品除外);通用机械设备销售;化学试剂和助剂销售(监控化学品、危险化学品除外)。
AnchorDx 为基准医疗在美国设立的研发中心,致力于采用国际先进的甲基化高通量测序进行癌症早筛早诊产品研发、生产和销售,并可提供相应的检测服务。于2015年在广州国际生物岛成立,创始人范建兵博士是基因检测领域的国际领军人物,是2021年度“全球前2%顶尖科学家-终身科学影响力排行榜单”入选者,拥有30年从事人类基因组学、基因芯片及高通量测序技术开发的经验。基准医疗是国内将ctDNA甲基化高通量测序技术用于肿瘤早检的先行者,围绕 “一管血”和“一管尿”两大主线,开发覆盖肺癌、乳腺癌、消化系统癌症与泌尿系统癌症等超过70%高发癌种,贯穿癌症早期筛查、早期诊断、复发监测和伴随诊断全流程。

图片



康圣环球


康圣环球基因技术有限公司(股票代码:9960.HK)是中国大型高端医学专科特检服务检验集团,致力于引领中国专科特检技术和服务的进步,促进中国专科诊疗和个性化医学的发展和提高。本着病人利益至上、医生需求第一的宗旨,康圣环球遵循国际规范、标准和行业指南,引进和研发世界上先进的技术和专科特检方法,面向中国大型三级医院、专科医院和综合性医院提供全面、先进和准确的专科特检服务。

图片

康圣环球在北京、上海、武汉、新疆、成都、天津已建40000平方米具有国际先进水平的临床检验、科研合作和应用研发实验室,拥有高分辨流式(FCM)检测平台、PCR(Real-time PCR)平台、基因芯片平台(Affymetrix)、液态芯片平台(Luminex)、DNA质谱平台(Sequenom)、数字基因平台(NanoString)、测序平台、细胞遗传平台(染色体核型分析、FISH等)、质谱平台、临床病理平台、临床免疫平台、临床化学平台等十几个专业实验室,向全国31个省直辖市,600多个城市的3000多家医院,尤其是千余家大型三级医院提供3800多项血液、肿瘤、遗传、心脑血管、感染性疾病、自身免疫性疾病等领域和内、外、妇、儿等专科的高精尖诊断检测,并通过与全球顶尖医疗科技机构和大型制药公司合作,向全国广大临床医师提供医学科研、药物试验和转化医学研究服务。

声明:
1、凡本网注明“来源:小桔灯网”的所有作品,均为本网合法拥有版权或有权使用的作品,转载需联系授权。
2、凡本网注明“来源:XXX(非小桔灯网)”的作品,均转载自其它媒体,转载目的在于传递更多信息,并不代表本网赞同其观点和对其真实性负责。其版权归原作者所有,如有侵权请联系删除。
3、所有再转载者需自行获得原作者授权并注明来源。

最新评论

关闭

官方推荐 上一条 /3 下一条

客服中心 搜索 洽谈合作
返回顶部