Cepheid的历史可以追溯到1996年,其总部位于美国加利福尼亚州的森尼韦尔市。公司成立的初衷是开发一种简单而有效的分子诊断技术,旨在为医学研究、临床诊断以及公共卫生提供快速而准确的诊断工具。以下是Cepheid发展的重要里程碑和历史事件: 1. 成立初期 Cepheid成立于1996年,最初的目标是开发用于生物战威胁检测的技术。在这个时期,公司开始设计用于分子诊断的自动化设备。在这一阶段Cepheid专注于其SmartCycler®系统,该系统将核酸检测的扩增和检测阶段集成在一台仪器中。该系统于2000年推出,同年公司上市。
2. GeneXpert系统的开发与发布 Cepheid的核心技术GeneXpert系统是一种模块化的分子诊断平台。这一系统的独特之处在于其全自动化和易于使用,使得临床环境中的即时检测成为可能。随着GeneXpert系统的发布,Cepheid开始在医疗领域获得认可。
3.收购与扩张 Cepheid在2016年被丹纳赫公司(Danaher Corporation)收购,成为丹纳赫集团的一部分。这次收购为Cepheid提供了更多的资源和支持,进一步推动了其在分子诊断领域的发展。
4. 临床诊断领域的扩展 2000年代,Cepheid逐渐扩展到医疗诊断领域,推出了一系列用于检测感染性疾病的试剂盒。这些试剂盒主要针对结核病、流感、甲型流感、乙型肝炎和其他传染病。
5. 公共卫生领域的影响 随着GeneXpert系统的成功,Cepheid的产品在公共卫生领域发挥了重要作用,特别是在资源有限的地区。GeneXpert系统的快速检测能力为卫生机构提供了更好的工具,以应对结核病等全球性卫生问题。特别是全球结核病分子诊断市场,WHO认可Xpert® MTB/RIF检测痰液样本的性能,并推荐其作为疑似耐多药结核病患者的初始诊断检测,由此快速打开全球市场。

6. 新冠疫情期间的响应 2020年爆发的新冠疫情对全球公共卫生构成了巨大的挑战。Cepheid迅速响应,开发了用于检测新冠病毒的试剂盒。这使得医疗机构能够迅速检测新冠病毒,帮助控制疫情的传播。在2016年赛沛被丹纳赫公司(Danaher Corporation)所收购,所以其业绩表现主要在丹纳赫财报中进行体现,从丹纳赫2023年财报看,其在诊断领域收入共计96亿美元,占总营收的40%,而赛沛在其诊断液业务占比大概为20%。根据报道,丹纳赫首席执行官雷纳·布莱尔在摩根大通医疗保健会议上表示,该公司在2023年第四季度的表现超出了预期。尽管公司的核心业务基础收入略有下降,但所有部门的业绩都略高于预期。他特别提到了子公司赛沛(Cepheid)在呼吸测试方面的出色表现,呼吸测试收入超过6亿美元,高于预期。

1. GeneXpert系统介绍 GeneXpert是一种快速、准确的分子诊断系统,可用于检测多种疾病。它操作简单,自动化程度高,适用于不同类型的样本。GeneXpert在临床诊断能发挥着重要作用,主要依托于其强大的性能:(1)快速高效:GeneXpert产品采用了独特的核酸扩增技术,能够在短时间内完成核酸扩增和检测过程。根据不同的检测项目,整个检测过程可以在大约60分钟之内完成,有的项目甚至可以在30分钟内完成。并且检测得到的结果准确度高。(2)高度自动化:GeneXpert系统具有高度自动化的特点,几乎无需人工干预。从样本准备到结果呈现,系统中的自动化流程减少了人为错误的可能性,同时提高了实验的一致性和可重复性。(3)即时结果呈现:GeneXpert系统直接将结果呈现在操作界面上,无需等待进一步的数据处理或分析。这使得医务人员可以立即采取必要的行动,如开始治疗或采取预防措施。(4)样本灵活性:GeneXpert系统适用于多种样本类型,包括血液、唾液、尿液、呼吸道分泌物等。这使得它们可以用于诊断多种感染性疾病,如呼吸道感染、性病和寄生虫感染等。(5)高度准确性:GeneXpert系统采用了高度灵敏的分子检测技术,具有极高的准确性和特异性。这意味着它们能够可靠地检测出目标病原体,减少了误诊和漏诊的风险。(6)便携性:Cepheid还开发了便携式的GeneXpert系统,使其可以在临床实验室、医疗诊所、野外医疗点等多种场所使用。这种便携性使得GeneXpert系统在偏远地区和资源匮乏地区的疾病监测和控制中发挥了重要作用。2. GeneXpert检测设备 GeneXpert检测设备的技术源于I-CORE模块(Intelligent Cooling/Heating Optical Reaction Module),这一模块的初始应用体现在Cepheid公司于2000年5月推出的第一代产品——Smart Cycler检测系统。之后,Cepheid公司将技术研发方向调整为实现多模块、多检测的目标,以期在一个系统中同时运行多个不同的测试盒。因此,他们基于I-CORE模块设计出了GX模块,这一模块是GeneXpert仪器的前身,为后来发展成多功能、多样本的检测系统奠定了基础。
 目前GeneXpert检测仪器根据用户使用条件主要分为三类:GeneXpert、GeneXpert Infinity Systems、GeneXpert Xpress:2.1 GeneXpert 根据赛沛公开资料显示,GeneXpert主要分为4模块系统和16模块系统,由于其独立模块的设计,所有赛沛所开发的卡盒试剂均适配其不同通量的设备,且能够做到随来随检。值得注意的是,GeneXpert近年将其设备进行了升级,其机型配备了10色荧光多重技术,用户可根据实际需要选择10色或6色荧光通道检测模块,由此GeneXpert在快速PCR以及多重检测领域地位得到较大的提升。

2.2 GeneXpert Infinity Systems 与GeneXpert一致,GeneXpert Infinity Systems同样具有全自动样品提取、样本随到随检、快速检测、适配所有检测试剂的特点。不同之处在于GeneXpert Infinity Systems将通量做到了48或80,且该系统能够做到无人值守,用户“即装即走”大大提高了医疗检测的效率。
2.3 GeneXpert Xpress: GeneXpert Xpress产品的主旨是将分子诊断推向实验室外,赛沛从应用环境出发,致力于将GeneXpert的优秀诊断性能从大型医疗结构推向社区医院或普通门诊。因此GeneXpert Xpress在不损失其检测特点以及性能的情况下,做到了小巧轻便,易于操作。

3. Xpert测试盒 Xpert测试盒是赛沛分子诊断解决方案的基石,具备核酸提取、扩增、检测集于一体以及完全自动化的优秀特点。而其标志性的蓝色,也被称之为“Cepheid Blue”。从公开资料上看,目前Xpert测试盒主要应用于临床领域,其测试项目主要分为五大类:1.呼吸系统分子诊断2.HAI和其他传染病3.血液病毒、女性健康和性健康4.结核和新发传染病5.肿瘤和人类遗传诊断。

其中具体的检测项目以及对应的检测性能如下:

3.1 Xpert® 测试盒结构解析 GeneXpert微流控芯片(也称为测试盒或检测试剂盒)主要由四个部分组成:盖子、试剂池、反应管和底座。盖子分为上结构与下结构。其中上结构主要的功能区域为:加样口(140)、中心柱(143)、通气孔(144)、圆形通孔(142)、其余为组成结构的相关部件如连接链、卡扣、顶盖、底盖;下结构主要与试剂池卡盒主体的上部分进行对应,保证整体的气密性。虽然图中未进行显示,其盖子上部分存在为保证整体气密性的覆膜,可以避免通气孔可能引起的污染问题。 与常规微流控芯片一致,GeneXpert的试剂池主要是提供样本裂解、核酸提取、核酸纯化、扩增所需试剂的储存功能以及废液暂存功能,下图是关于其试剂池的结构分布:
 GeneXpert与其他微流控卡盒一致,为了减少用户操作,化繁为简,选择了将试剂冻干预存于卡盒内。不同的是GeneXpert有一个非常巧妙细节的设计,在含扩增试剂冻干微球(108)的腔室内,放置了一个Retaining ball 悬浮球(105),为了不影响扩增试剂的性能,该球采用的是苯乙烯或聚氯乙烯等惰性材料。在图中可以看到该球的尺寸与腔室留有一定间隙(107),既不会让悬浮球卡在腔室底部导至堵塞出液口,也起到了阻挡冻干微球的作用,避免了两种情况的发生:(1)未使用时卡盒倾倒或倒转导至微球粘附于腔室上端从而导至复溶失败;(2)复溶时微球被复溶液冲至腔室上端从而导至复溶失败。同时在腔室顶部设计了弹性滤膜(110),气体排出(116)减少核酸污染,复溶后进行加压(120)促进复溶液体的排出。
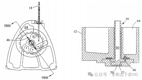
 GeneXpert卡盒沿用的是SmartCycler反应管,该反应管通过采用延展性高温耐受的薄层塑料,设计为向外凸出的结构,以增加比表面积,并确保与温控模块的紧密贴合,从而提高温度响应速度。其光路设计确保荧光沿特定路线传递,优化荧光信号采集。盖子多层密封设计有效防止扩增产物泄漏,减少污染风险。试剂管主要由试剂入口(41)、扩增腔(42)、试剂出口(43)、定位阀(44A,44B)、柔性密封膜(48)、入口通道(50)、出口通道(52)、定位器(58)组成,其中激发光(57A)在A端射入,B端射出,其检测器收集发射光(57B)。 底座部分由中心推杆、旋转阀构成、滤膜、流道组成,其功能主要是将流体通过推杆以及旋转阀输送至指定的位置,具体的结构为:旋转圆盘(22)、中心柱(24)、滤膜(27)、底盖(28)、齿轮(29)、流体处理腔(30)、连接口1(42)、连接口2(46)。

3.2 Xpert® 测试盒的流体解析 微流控是一种通过在微小尺度的管道中精确操控极少量的流体,将实验室操作微缩到芯片上,主要突出“微”与“控”。在流体的控制上GeneXpert与FilmArry都有自己的解决方案,两者均属于行业的领导者。与FilmArry不同的是,GeneXpert主要以推杆以及旋转阀的相互配合从而达到试剂在卡盒内的流动以及控制,国内也有“类赛沛”式的卡盒或芯片出现,如:鲲鹏基因IFIND、准芯生物AIM1800等。从样品处理、靶标扩增到最后检测分析,集成于卡盒内,以下是简化的GeneXpert检测流程图。
 本次介绍以最为人熟知的GeneXpert MTB/RIF结核检测试剂盒为例,GeneXpert MTB/RIF试剂盒是一种用于结核病检测的分子诊断试剂盒,主要用于检测结核分枝杆菌(MTB)和判断对利福平(RIF)的耐药性。(1)样品处理 结核样品主要以痰液、支气管吸出痰、肺泡灌洗液为主,因此需要对样本进行卡盒外的预处理。一般使用化痰试剂对样品进行孵育,离心,待样品没有明显的块状呈流动态即可加入至卡盒内进行处理检测。(2)核酸提取及纯化 使用滴管将预处理后的痰液样本加入至卡盒内,盖上上盖,将卡盒放入仪器内,后续均为设备自动化操作。首先将旋转阀转至下图位置,将样品腔(60)与中心推杆(50)相连,之后拉动推杆(50),将样品拉至中心推杆区内。
 然后将旋转阀转至下图位置,将废液腔(64)与中心推杆区(50)相连,之后推动推杆(50),将样品推至废液池,其中样品将经过滤膜(30)。该滤膜有着特殊的设计,滤膜以多层及异型的形式存在,且中间可能存在吸附细胞、病菌的Beads,具体信息并未披露,但其主要的功能是将样品中的靶标物质截留或吸附在滤膜上。
 同理通过旋转阀将含清洗液(66)与中心推杆区(50)相连,将清洗液拉至中心推杆区,之后通过旋转阀将废液腔(64)与中心推杆区(50)相连,主要对各个腔、流道以及滤膜进行清洗。
 同理通过旋转阀将含裂解试剂腔室(70)与中心推杆区(50)相连,将裂解液拉至中心推杆区,之后通过旋转阀将废液腔(64)与中心推杆区(50)相连,将裂解液与吸附或截留在滤膜上的靶标物质充分接触,起到裂解释放核酸的作用,其中部分裂解缓冲液残留于置换区内。
 最后将旋转阀旋转至下图位置,可以看到流道被封闭,之后对样品截留或吸附区进行超声裂解(76)。(3)试剂复溶 将旋转阀旋转至与试剂腔连接,将残留于流道内的液体推至反应试剂腔(78),试剂腔内为冻干微球,微球包括探针、酶、缓冲液等。待微球复溶后,将试剂拉回中心柱(50),将旋转阀旋转至与废液腔连接,并下推推杆,将多余的试剂排入废液腔。
 最后将旋转阀旋转至与试剂腔连接,通过反复推拉将复溶试剂与靶标核酸充分混匀,最后推入扩增管内。
 有趣的是,常规提取纯化都将清洗放在裂解之后,但在专利(US9212980)中赛沛选择将清洗放在裂解前,同时该专利里使用裂解液直接复溶试剂干粉微球,说明裂解液对于扩增的影响较小,且有一细节,裂解液本身对截留的核酸样本不存在洗脱,但在复溶微球后,即可对核酸样本进行洗脱,可能其缓冲液有一定的设计,不管如何我们认为主要是为了尽量避免核酸的损失,提高整体卡盒的灵敏度。(4)核酸扩增 将旋转阀调整至下图位置,待扩增的反应mix通过进口(56)流入反应管(18),并从出口(42)流出多余的试剂。
 最后通过旋转阀,将进口(42)关闭,使流道(84)与第二进口(46)相连接,并推动中心推杆,使得反应试剂充满反应管(18)。

(5)质量控制与结果分析 由于GeneXpert一体化卡盒的性质,赛沛对于其质量控制是十分严格的,不仅扩增反应过程中加入了内参设置,而且对于整体的流体是否异常也进行了监测,以下是关于其质量控制具体的指标。
 与常规QPCR结果一致,GeneXpert的检测结果将提供扩增曲线以及对于Positive与Negtive的自动判读。以流感检测卡盒为例:

3.3 GeneXpert演示视频
|
声明:
1、凡本网注明“来源:小桔灯网”的所有作品,均为本网合法拥有版权或有权使用的作品,转载需联系授权。
2、凡本网注明“来源:XXX(非小桔灯网)”的作品,均转载自其它媒体,转载目的在于传递更多信息,并不代表本网赞同其观点和对其真实性负责。其版权归原作者所有,如有侵权请联系删除。
3、所有再转载者需自行获得原作者授权并注明来源。