立即注册找回密码

QQ登录

只需一步,快速开始

微信登录

微信扫一扫,快速登录

搜索
小桔灯网 门户 资讯中心 产品杂谈 查看内容

剖析LumiraDx,市值50亿美元的微流控平台,为什么这么牛?

2022-3-2 14:51| 编辑: 沙糖桔| 查看: 4160| 评论: 0|来源: 医业观察 | 作者:南京老张

摘要: 前段时间,LumiraDx拟通过SPAC上市,估值将达50亿美元。一时有很多技术解读、市场分析,老张也看了他们的技术,做了一些分析,也想聊一聊这个50亿美元的微流控生意。老张有一种强迫症,就是喜欢“找亮点”。看到一个 ...


前段时间,LumiraDx拟通过SPAC上市,估值将达50亿美元。


一时有很多技术解读、市场分析,老张也看了他们的技术,做了一些分析,也想聊一聊这个50亿美元的微流控生意。老张有一种强迫症,就是喜欢“找亮点”。看到一个技术,总想把它核心的创新点找出来。于是,老张找翻了LumiraDx的所有专利,确定了他们的核心专利,然后找来了该核心专利的PCT申请版本,以及进入中国的版本,以及在中国阶段的审查、答复过程中所产生的所有相关文件(就是审查员怎么审的,发了什么样的审查意见;LumiraDx是怎么答复的,做了什么样的修改;等等),花了很多时间研读。

遇到一位微流控专家,聊了这个事,把聊天内容整理一下写出来。

以下内容,不一定对,随便看看。

微流控说:LumiraDx现在被捧得很高,他的技术确实也很不错。国内有一些公司想跟他们合作,但效果不是太好。我们也在跟进他们的技术,想要有一些借鉴。

老张说:每一样已经上市的产品,具体实现的技术细节,我相信更多的应该是常规技术,有少数几处创新,就已经很厉害了。老张想聊的,是以下这么几层意思:

(一)可不可以在技术上有所借鉴? 
(二)能不能拓展?
(三)能不能自己搞?
(四)打战需要子弹,谈判需要筹码。


01

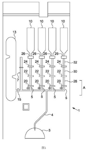
LumiraDx 卡片的设计,上海滩老纪有一系列的文章,大家可以到公众号“IVD工具人”去看(LumiraDx 公司估值50亿、LumiraDx 设计原理、LumiraDx 原理的定格动画,等),老张就不再重复。把卡片的结构放出来看看:


老张把LumiraDx的专利拿来研读了很长时间,经过反复琢磨,老张最终认为,其最核心的创新点,或称发明点,应该是液流的“驱动机构”。首先,LumiraDx的微流控技术的驱动方式,属于“泵驱动”的范畴。而我们平时看到的泵驱动的微流控技术,泵是在上游的,存在以下局限性:

(1)每个泵只管一种试剂;
(2)每条微管的功能非常有限;
(3)液流从上游往下游单向流动;
(4)对应微管的数量多,相应的,也需要更多的微阀;等等。

LumiraDx 的技术,巧妙地把泵设置在最下游,上图中编号10的结构,就是驱动机构了,老纪把它比喻成吸耳球。这个设计产生了很多优点:

(1)吸、吹两个动作,分别实现了液流的“上游往下游”、“下游往上游”两种不同方向的流动,而平时看到的泵驱动,是单向地把液体一直往前推;
(2)上游设置多个试剂腔(他这里,是把微管的不同段,作为不同的试剂腔来使用),依次预封装了所需的各种试剂,通过泵和微阀的配合,可以控制不同试剂的流动;
(3)每个检测只使用一条微流管道,通过微阀把该微管分隔为几截,单独使用;
(4)液流在微管中往复移动,可以依次实现比如:与一抗的反应、与有磁珠标记的二抗的反应、磁珠的固定、废液的反向排出等步骤。

简单来说:老张认为,LumiraDx 的核心创新点,是把原来放在上游的泵驱动,设置在了下游。至于在这个基础上,微管、微阀怎么设置,检测步骤怎么安排,甚至想用来实现什么检测,进一步的,仪器怎么设计,仪器的操控软件怎么编程,那就大多只是工作量的问题了,很多常规技术可以塞进来,懂微流控的人,自然能做到。

微流控说:我们关注技术细节,还真没往这方面想。

老张接着说:


02

那么,基于LumiraDx的核心创新点,我们想一想,能否将它拓展到其他检测项目上。

生化、免疫、分子,几类主要的检测,首先自然就想到分子了。在毛细管中做恒温扩增,捕捉目标基因后,把废液推出去,再进行检测,可不可以?在不同段中加入不同试剂,实现各种温度条件,做CRISPR可不可以?甚至让液滴在两个温区间往复运动,做PCR,实现分子定量检测,可不可以?做成试剂卡,不需要仪器,用于家庭自检,可不可以?

但不管拓展到什么检测项目上,泵驱动放到下游去,应该是主要借鉴的点,因为普遍使用的泵驱动的微流控技术,跟LumiraDx的不一样,也没有取得他们这样的成绩。

这个要靠各人发挥想象了。

微流控说:嗯,从底层逻辑来说,我们关注的是对液流的控制,用于什么场景,那是另一回事。按你这个思路,我们倒可以再想一下,这种技术还可以应用在什么样的场景,解决什么样的流程。不过即使有了拓展的思路,对方有专利保护了,咋整?

老张说:嗯?又回到老张之前聊的问题了,你返回去读一下老张之前写的文章——(引用:免费的午餐——专利保护的“有限性”)。

这就聊到专利上来了,提几个思路。


03

LumiraDx对他们的核心专利挺在意的(废话,核心专利谁不在意),他们在各个国家满世界申请这个专利,不过在专利策略上,可以跟国内“博奥”、“优思达”这样的公司学一学。博奥和优思达的专利策略,老张认为是安排得比较好的,甚至在一定程度上可以作为典范,以后会聊一聊,这里不展开。

还说LumiraDx的核心专利,放几个数据:

1、这么大的生意,目前在中国公开的专利,连授权的发明专利(4件)、带在审的发明专利(2件)、包括外观专利(2件),总共只有10件专利不到,或许核心专利“过于核心”,承担了太多,这不是什么好事,这个事以后可以谈一谈。

2、这件核心专利,PCT版本(英文),说明书共75页;进入中国的版本(中文),说明书共55页。这应该是不同语种的问题。

3、这件核心专利,PCT版本的权利要求是65项;进入中国的申请版本,也是65项权利要求,在中国的授权版本,权利要求为28项。

可以简单理解为:权利要求项数越多,保护得越多。当然,这句话并不对,这样说只是为了帮助理解。

4、进入中国的申请版本,独立权利要求有281字,在中国的授权版本,独立权利要求为455字。

可以简单理解为:字数越多,保护范围很可能就被限制得越小。当然,这句话也不全对,这样说同样也只是为了帮助理解。

微流控说:你可以说具体一点吗?

老张说了一下自己的想法。


04

老张接着说:至于你提到的合作的事,既然要合作,就要谈,谈合作的过程中,是否应该多关注对方的专利情况。讲个故事,当年国外有企业来谈青蒿素的合作事宜,谈了几天回去后就再也不联系了,然后对方就直接自己生产了。事后才知道,对方知道了我们并没有关于青蒿素的专利。也许我们可以从这个故事中得到一些启发。

不过,除去为了获得专利权不得不公开而又没能完全纳入专利保护范围的设计,人家一定还有别人通过拆解产品、专利,无法获取的工艺上的诀窍、秘密。

今天就聊到这。

老张关注的是IVD技术,技术分析是很花时间精力的,没法做到每天更新,欢迎关注“老张聊IVD技术情报”加星标,防止失联。

主要参考文献:

WO2018002668,Fluid control

201780040324X,流体控制



声明:
1、凡本网注明“来源:小桔灯网”的所有作品,均为本网合法拥有版权或有权使用的作品,转载需联系授权。
2、凡本网注明“来源:XXX(非小桔灯网)”的作品,均转载自其它媒体,转载目的在于传递更多信息,并不代表本网赞同其观点和对其真实性负责。其版权归原作者所有,如有侵权请联系删除。
3、所有再转载者需自行获得原作者授权并注明来源。

最新评论

关闭

官方推荐 上一条 /3 下一条

客服中心 搜索 洽谈合作
返回顶部